• 网站首页
  • 公司简介
  • 产品展示
  • 产品目录
  • 企业动态
  • 联系我们
  • 电子邮局

产品展示

  • 油气润滑元件
  • 电动润滑泵
  • 手(脚)动润滑泵
  • 加油泵
  • 双线分配器
  • 单线分配器
  • 换向阀、操纵阀及其附件
  • 稀油润滑装置及稀油站
  • 稀油润滑元件
  • 管件部分

联系方式

电话:0513-83325673 传真:0513-83119878 手机:13862978163 地址:江苏省启东市汇龙镇中央河中路691号E-mail:13862978163@126.com
 
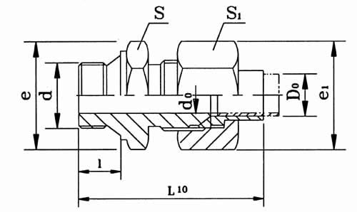
扩口式端直通管接头JB/ZQ5625.1-85
本标准适用于油、气为介质的管路系统用扩口式端直通管接头。
标记示例:
   管子外径D0为10mm的扩口式端直通管接头:
   管接头10 GB5625.1-85
 
管子外径DO
d0
d
l
l1≈
e1
e
s1
s
重 量(kg/100件)
4
3
M10×1
8
31.5
15
17.3
13
15
2.99
5
3.5
3.5
6
4
35.5
17.3
15
4.82
8
6
M12×1.5
12
44
20.8
18.5
18
16
5.95
10
8
M14×1.5
45
24.2
20.8
21
18
7.86
12
10
M16×1.5
45.5

27.7

24.2
24
21
9.95
14
12
M18×1.5
31.2
27.7
27
24
18.3
16
14
M22×1.5
14
49
34.6
31.2
30
27
17.1
18
15
17.8
20
17
M27×2
16
58.5
41.6
39.3
36
34
29.2
22
19
59.5
31.7
25
22
M33×2
18
64
47.3
47.3
41
41
42.5
28
24
66.6
53.1
46
50
32
27
M42×2
20
71
57.7
57.7
50
50
67.7
34
30
71.5
68.3
 
 
 
 
 
 
 
 
 
 
网站首页 公司简介 产品展示 产品目录 企业动态 联系方式
电话:0513-83325673 传真:0513-83119878  手机:13862978163  油气润滑     
地址:江苏省启东市汇龙镇中央河中路691号 邮编:226200  E-mail:13862978163@126.com 
版权所有:南通沃尔驰石化工程有限公司