• 网站首页
  • 公司简介
  • 产品展示
  • 产品目录
  • 企业动态
  • 联系我们
  • 电子邮局

产品展示

  • 油气润滑元件
  • 电动润滑泵
  • 手(脚)动润滑泵
  • 加油泵
  • 双线分配器
  • 单线分配器
  • 换向阀、操纵阀及其附件
  • 稀油润滑装置及稀油站
  • 稀油润滑元件
  • 管件部分

联系方式

电话:0513-83325673 传真:0513-83119878 手机:13862978163 地址:江苏省启东市汇龙镇中央河中路691号E-mail:13862978163@126.com
 
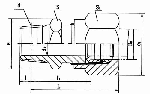
卡套式锥螺纹对接直通管接头(16MPa)
本标准规定了卡套式锥螺纹对接直通管接头,适用于油、气及一般腐蚀性介质的管路系统。
标记示例:
   公称压力E级,管子外径D0为14mm的卡套式锥螺纹对接直通管接头:
   管接头E14 JB/ZQ4406-97
 
管子外径D0
公称通径DN
d5
d
l
l1≈
L≈
扳手尺寸
e
e1
重 量(kg/100件)
S
S1
E(16)
4
3
Z1/8
4.572
22
38
13
15
15
17.3
3.18
5
3.5
6
4
24.7
43
16
18.5
4.23
8
6
Z1/4
5.080
31
49
16
18
18.5
20.8
6.77
10
8
32
52
18
21
20.8
24.2
8.12
12
10
Z3/8
6.096
23
53
21
24
24.2
27.7
9.61
14
12
12.1
16
14
Z1/2
8.128
34
54
27
27
31.2
31.2
16.6
18
15
34.5
30
34.6
19
20
17
NZ3/4
8.611
39
62
34
34
39.3
39.3
27.3
22
19
43.5
67
36
41.6
31.4
25
22
Z1
10.160
45.5
72
41
41
47.3
47.3
44.7
28
24
46.5
73
48.2
32
27
Z11/4
10.668
34.5
76
48.5
50
57.7
57.7
71.7
34
30
77
76.6
40
34
Z11/2
35
63
49.5
55
63.5
63.5
83.9
42
36
60
69.3
92.6
 
 
 
 
 
 
 
网站首页 公司简介 产品展示 产品目录 企业动态 联系方式
电话:0513-83325673 传真:0513-83119878  手机:13862978163  油气润滑     
地址:江苏省启东市汇龙镇中央河中路691号 邮编:226200  E-mail:13862978163@126.com 
版权所有:南通沃尔驰石化工程有限公司